FiiO Portable Stereo CD Player - DM15 R2R (R)


Five core design | Fully differential true 24Bit R2R resistor arrays DAC Powerful 1150mW+1150mW output | HiFi-grade USB sound card
24 sound presets | HiFi-grade USB/CD Bluetooth transmitter+ turntable Listen while ripping CDs
Portable Stereo CD Player DM15 R2R
* Related CDs are not involved in this product.
*Pictures are for reference only. The actual product may vary.

Truly portable, truly HiFi FIIO portable CD player DM15
After the launch of the DM13, we listened intently to user feedback and diligently refined the product based on their suggestions.
A year later, we present FIIO’s brand-new portable CD player.
•••
The DM15 R2R embodies the latest achievements of FIIO’s research and development and deep expertise in CD technology.
It is not only ‘slimmed down’ compared to the DM13 but also incorporates five core pillars in its design. It brings together the organic analog sound quality of portable CD players and a wealth of modern functionality.
With an advanced configuration, unique functions, simple controls, and high build quality - this is FIIO’s brand-new masterpiece.

Five core design
Comprehensively upgraded
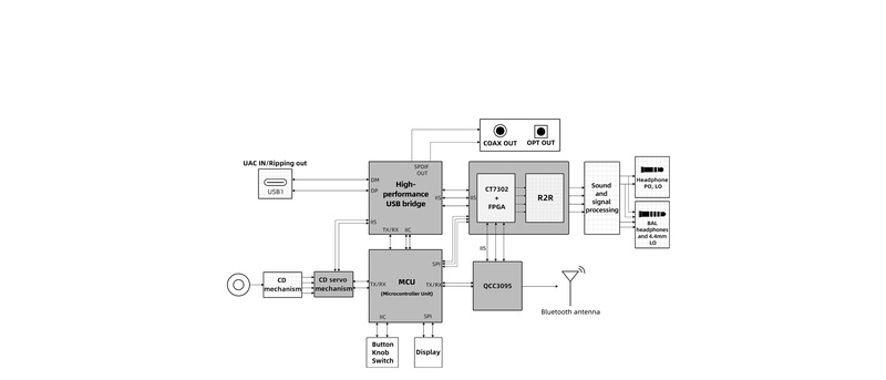
The DM15 R2R represents a breakthrough, combining a smaller footprint with an even stronger feature set. Packed into its portable chassis are five core pillars: the CD Servo, USB DAC, R2R Module, and Bluetooth Module, all managed and coordinated by an MCU (microcontroller unit). Such a thorough “core” evolution elevates the device in every way, surpassing the competition in its product category.

Recreating analog sound
With distinctive characters
Custom fully differential true
24Bit R2R resistor arrays DAC
In order to recapture the classic audio character of vintage portable CD players, the DM15 R2R is equipped with a proprietary four-channel, fully differential 24Bit R2R resistor arrays DAC. It is built using a grand total of 192 precision thin- film resistors (48 per channel), carefully selected for their 0.1% accuracy and low temperature drift (30ppm). The result is a nuanced, warm, and organic analog sound.

Custom CD mechanism Reliable disk playback
The DM13’s disc-reading performance has already seen substantial optimization over the past year. The DM15 R2R continues to evolve upon this foundation, with further customization of the CD mechanism. It features a self- rebounding steel ball design for disc alignment, making disc insertion and removal smoother and less likely to scratch the disc.
*The disc-reading capability of the DM15 R2R is comparable to the latest firmware version of the DM13. *Due to the structural limitations of a portable CD mechanism, we cannot guarantee the perfect reading of all CDs. We will continue to optimize disc-reading performance through future firmware upgrades. *Minor skipping when reading certain high-capacity CDs is normal due to variations in mechanisms, manufacturing materials, and recording conditions.

HiFi-grade USB DAC
Exceptional decoding performance
The highly anticipated USB DAC function is now a reality. While guaranteeing excellent CD sound quality and compatibility, the DM15 R2R also incorporates a HiFi-grade USB DAC. It supports high sampling rates up to 384kHz/32bit and DSD256. Thanks to the R2R DAC, the sound in USB DAC mode is also rendered with distinct musicality.

Premium Qualcomm Bluetooth chip Effortless connection Enhanced user experience
Retro meets modern: A dual advancement in both features and experience. Equipped with the Qualcomm QCC3095 Bluetooth chip, the DM15 R2R supports standard and high-resolution Bluetooth transmission protocols, including aptX, aptX Adaptive, aptX HD, and SBC. Bluetooth transmission is supported for both CD input and USB input. A brand-new visual interface makes pairing and connecting Bluetooth devices perfectly clear.
* Differences may exist in Bluetooth protocols among certain brands. Please ensure you set the required Bluetooth codec on the receiving device before connecting.

Slim at an inch Superior in its league
A“powerhouse”among portable CD players
“Portable” CD players are becoming increasingly large, undermining their original purpose of being easy to carry and move around. The DM15 R2R has been further refined and slimmed down in size compared to the DM13. By uniquely integrating high performance and a wealth of features into an extremely compact and portable form factor, it stands out from its competitors.

Global BASS+EQ
24 sound presets
With 3 BASS modes and 8 built-in EQ presets, you can combine these for up to 24 dynamic sound presets. There is even a specially tuned RETRO sound preset that delivers a rich, analog, and classic sound flavor.
* Since selecting BASS or EQ affects the output level, please adjust your volume as necessary.

The all-purpose powerhouse Fully capable
The device combines a portable CD player, HiFi-grade USB DAC, high-resolution USB/CD Bluetooth transmitter, and a USB/CD digital transport all into a single unit - offering far greater versatility and compatibility than comparable portable CD players.
*Using a phone/player/tablet as the sound source: Connect the device first, then plug in USB power to ensure proper recognition. This limitation does not apply when using a computer as the source.

HD TFT display Effortlessly control your music
The player’s retro UI theme blends modern and vintage styles for a pleasing look that is also easy to use. It clearly and intuitively presents information such as battery power, operational mode, EQ settings, sampling rate, Bluetooth connection list, and more, allowing you to easily maintain control over your audio and enhance your musical enjoyment.

Vintage mechanical controls
The overture to a great listening experience
This brand-new retro design incorporates mechanical buttons, keys, and knobs that one can tangibly interact with, making control simple and easy to learn. Furthermore, the real tactile feedback from every single action allows you to fully experience the beauty of CD listening through sight, touch, and sound.

Supports USB ripping functionality Preserve the melodies that touch your soul
The player supports ripping tracks while listening, allowing you to save your favorite CDs in WAV format onto external storage*. Easily share those unforgettable tunes with friends.
* Only FAT32-formatted external storage devices are supported. * Only CDDA-format music ripping is supported. For system firmware updates or CD ripping, a Type-C flash drive (32GB or smaller) is recommended.

Portable and desktop modes
Dual distinct experiences
Patented desktop mode
The battery protection specialist
This mode bypasses the battery for non-portable use, protecting it from being used even during high-power output. This also significantly cuts down on charge-discharge cycles, which significantly helps to prolong the lifespan of the battery.
*If the device power off due to a 0% battery level, charging will automatically commence, even if desktop mode is active, to safeguard the battery’s health.
Patent number: ZL202321946664.8

Infrared remote control included
The included remote makes it easy and convenient to control the device from afar.
*Remote control battery is not included and must be purchased separately.

High-voltage lithium battery power Freedom on the go
A specially selected 4700mAh, 3.85V pure cobalt high-voltage lithium battery delivers powerful performance to the DM15 R2R. Enjoy about 7 hours* of continuous music playback, easily satisfying your need for extended listening without worrying about the battery running out.
*Data is based on testing from FIIO labs and is for reference only. Actual results may vary due to differences in environment and usage scenario.

ESP (Electronic Shock Protection) Switch
By turning on the ESP functionality, users can enjoy a stable and engaging sound experience whether one is taking the player outside or using it stationary on a desk.
*Enabling the ESP function improves playback stability, but turning the feature on or off does not significantly enhance the disc reading performance.

Transparent window Delivering on both looks and capability
A rich palette of colors: electrophoretic white, silver, black, and red. A true fashion icon that stands out anywhere. The device features a minimalist yet fashionable design, featuring a chassis of all aluminum alloy construction that offers a luxurious texture and tactile feel. Both the transparent lid and the front panel cover are made with tempered glass for increased durability and scratch resistance.

Key interface size diagram
① 4.4mm balanced headphone PO
②3.5mm headphone PO
③ BASS selector switch
④Input selector switch
⑤ Output selector switch
⑥ Display screen
⑦ Previous track button
⑧Next track button
⑨ Power button
⑩Volume control knob
⑪ Play/Pause button
⑫ Stop button
⑬ EQ button
⑭ USB REC port
⑮ Desktop mode switch
⑯ Charging indicator light
⑰ PPOWER IN port
⑱ ESP switch
⑲ 3.5mm headphone LO/Coaxial output/Optical output
⑳4.4mm balanced headphone LO

Packing list
① ------------------------------ DM15 R2R Host * 1
② ------------------------------------------- Remote Control * 1
③ ------------- USB-A to Type-C charging data cable * 1
④ ---------------------------- Quick Start Guide * 1
⑤ -3.5mm coaxial patch cord * 1
⑥ ----------------------------------- After-sales maintenance card * 1
| General Specifications | |
|---|---|
| Name/Model | DM15 R2R |
| Hardware Scheme | Master control: GD32F305RET6, op-amp: SGM8262*2, DAC: FIIO proprietary R2R DAC, Bluetooth: QCC3095, USB chip: SPV5048 |
| Working mode | CD playback/USB DAC mode/Bluetooth transmitter mode |
| Color | White/Black/Red/Silver |
| Weight | About 471.5g |
| Dimensions | About 144x 137x 25.5mm (not including foot pads and knobs) |
| Volume Control | Knob |
| Display | 0.96 inch (80x 160)LCD display |
| Laser pickup | Custom laser pickup |
| Adaptive impedance | PO:8~350Ω |
| Mechanism | Custom mechanism |
| General Specifications - Buttons and Ports | |
| Buttons | Power*1; Stop*1; Play/Pause*1; Previous track*1; Next track*1; EQ*1; |
| USB | Type-C USB2.0 * 1 (data transfer) + Type-C POWER IN * 1 (charging/independent power supply interface) |
| Headphone output | Standard 3.5mm socket |
| Balanced output | standard 4.4mm socket |
| Line output | Standard 3.5mm socket |
| Balanced line output | standard 4.4mm socket |
| Coaxial output | Standard 3.5mm socket (multiplexed with LO port) |
| Optical output | standard 3.5mm socket (multiplexed with LO port) |
| Slide switch | Input switch button * 1 + output switch button * 1 + BASS switch * 1 + ESP switch * 1 + D.MODE switch * 1 |
| General Specifications - Special Function | |
| Bluetooth transmission (5.4) | SBC/aptX/aptX-HD/aptX-LL/aptX-Adaptive |
| Operation mode | Button/Knob |
| BASS | BASS OFF/1/2 |
| Timing Shutdown | Supported |
| EQ Adjustment | built-in 8 kinds of preset EQ |
| Drive-free mode | Supported |
| Firmware Upgrade | USB Upgrade/Local Upgrade |
| Maximum supported sampling rate | USB DAC: Up to 384kHz/32bit; DSD256 (Native), Coaxial output: Up to 192kHz/24bit, Optical output: Up to 96kHz/24bit |
| General Specifications - Power Supply Parameters | |
| Power supply | Supports PD2.0 and PD3.0 fast charge |
| Charging time | About 2 hours (PD3.0 fast charge) |
| General Specifications - 3.5mm headphone output: 7 hours | |
| Volume | 59 |
| BASS | OFF |
| Display state | OFF |
| ESP | ON |
| EQ | OFF |
| D.MODE | OFF |
| load | 32 Ω |
| General Specifications - 4.4mm balanced headphone output: 7 hours | |
| Volume | 53 |
| BASS | OFF |
| Display state | OFF |
| ESP | ON |
| EQ | OFF |
| D.MODE | OFF |
| Load | 32 Ω |
| General Specifications - 3.5mm headphone output: 11 hours | |
| Volume | 59 |
| BASS | OFF |
| screen status | OFF |
| ESP | OFF |
| EQ | OFF |
| D.MODE | OFF |
| load | 32 Ω |
| General Specifications - 4.4mm balanced headphone output: 10.5 hours | |
| Volume | 53 |
| BASS | OFF |
| screen status | OFF |
| ESP | OFF |
| EQ | OFF |
| D.MODE | OFF |
| load | 32 Ω |
| General Specifications - Performance and parameters of headphone output (3.5mm output, USB DAC, OS mode, desktop mode) | |
| Output power | L+R≥575mW+575mW (16Ω,THD+N<1%,3.1Vrms) |
| Output impedance | <1Ω |
| L+R≥315mW+315mW (32Ω,THD+N<1%,,3.2Vrms) | Crosstalk |
| L+R≥35mW+35mW (300Ω,THD+N<1%,3.3Vrms) | Peak output voltage |
| SNR | ≥ 111dB (A-weighted) |
| THD+N | <0.025%(1kHz/-6dB @ 32Ω) |
| Frequency response | 20Hz ~ 80kHz: Attenuation <2.9dB |
| Noise floor | <8.7uV(A weight) |
| Dynamic range | ≥ 106dB (A-weighted) |
| General Specifications - Performance and parameters of headphone output (3.5mm output, USB DAC, OS mode) | |
| Output power | L+R≥405mW+405mW (16Ω,THD+N<1%,2.5Vrms) |
| Output impedance | <1Ω |
| L+R≥220mW+220mW (32Ω,THD+N<1%,,2.7Vrms) | Crosstalk |
| L+R≥25mW+25mW (300Ω,THD+N<1%,2.8Vrms) | Peak output voltage |
| signal-to-noise ratio | ≥ 111dB (A-weighted) |
| THD+N | <0.025%(1kHz/-6dB @ 32Ω) |
| Frequency response | 20Hz ~ 80kHz: Attenuation <2.9dB |
| Noise floor | <7.5uV(A weight) |
| Dynamic range | ≥ 106dB (A-weighted) |
| General Specifications - Performance and parameters of balanced headphone output (4.4mm output, USB DAC, OS mode, desktop mode) | |
| Output power | L+R≥480mW+480mW (16Ω,THD+N<1%,2.8Vrms) |
| Output impedance | <1.5Ω |
| L+R≥1150mW+1150mW (32Ω,THD+N<1%,6.1Vrms) | Crosstalk |
| L+R≥145mW+145mW (300Ω,THD+N<1%,6.6Vrms) | Peak output voltage |
| SNR | ≥ 112dB (A-weighted) |
| THD+N | <0.025%(1kHz/-6dB @ 32Ω) |
| Frequency response | 20Hz ~ 70kHz: Attenuation <3dB |
| Noise floor | <14.7uV(A weight) |
| Dynamic range | ≥ 107dB (A-weighted) |
| General Specifications - Performance and parameters of balanced headphone output (4.4mm output, USB DAC, OS mode) | |
| Output power | L+R≥545mW+545mW (16Ω,THD+N<1%,2.9Vrms) |
| Output impedance | <1.5Ω |
| L+R≥815mW+815mW (32Ω,THD+N<1%,5.1Vrms) | Crosstalk |
| L+R≥100mW+100mW (300Ω,THD+N<1%,5.5Vrms) | Peak output voltage |
| SNR | ≥ 112dB (A-weighted) |
| THD+N | <0.025%(1kHz/-6dB @ 32Ω) |
| Frequency response | 20Hz ~ 80kHz: attenuation <2.9dB |
| Noise floor | <12.7uV(A weight) |
| Dynamic range | ≥ 107dB (A-weighted) |
| General Specifications - Performance and parameters of line output (3.5mm output, USB DAC, OS mode, desktop mode) | |
| THD+N | <0.025%(1kHz/-6dB @ 10KΩ) |
| SNR | ≥ 111dB(A-weighted) |
| Crosstalk | ≥ 100dB |
| Noise floor | <9.2uV(A weight) |
| Frequency response | 20Hz ~ 80kHz: attenuation <2.9dB |
| Line Output Level | 3.3Vrms(1KHz@10kΩ) |
| Dynamic range | ≥ 106dB (A-weighted) |
| General Specifications - Performance and parameters of line output (3.5mm output, USB DAC, OS mode) | |
| THD+N | <0.025%(1kHz/-6dB @ 10KΩ) |
| SNR | ≥ 111dB(A-weighted) |
| Crosstalk | ≥ 100dB |
| Noise floor | <7.9uV(A weight) |
| Frequency response | 20Hz ~ 80kHz: attenuation <2.9dB |
| Line Output Level | 2.8Vrms(1KHz@10kΩ) |
| Dynamic range | ≥ 106dB (A-weighted) |
| General Specifications - Performance and parameters of balanced line output (4.4mm output, USB DAC, OS mode, desktop mode) | |
| THD+N | <0.025%(1kHz/-6dB @ 10KΩ) |
| SNR | ≥ 112dB (A-weighted) |
| Crosstalk | ≥ 108dB |
| Noise floor | <15.6uV(A weight) |
| Frequency response | 20Hz ~ 80kHz: attenuation <2.9dB |
| Line Output Level | 6.5Vrms(1KHz@10kΩ) |
| Dynamic range | ≥ 107dB (A-weighted) |
| General Specifications - Performance and parameters of balanced line output (4.4mm output, USB DAC, OS mode) | |
| THD+N | <0.024%(1kHz/-6dB @ 10KΩ) |
| SNR | ≥ 112dB (A-weighted) |
| Crosstalk | ≥ 108dB |
| Noise floor | <13uV(A weight) |
| Frequency response | 20Hz ~ 80kHz: attenuation <2.9dB |
| Line Output Level | 5.4Vrms(1KHz@10kΩ) |
| Dynamic range | ≥ 107dB (A-weighted) |
| General Specifications - Performance and parameters of line output (3.5mm output, CD, OS mode, desktop mode) | |
| Output power | L+R≥575mW+575mW (16Ω,THD+N<1%,3.1Vrms) |
| Output impedance | <1Ω |
| L+R≥315mW+315mW (32Ω,THD+N<1%,,3.2Vrms) | Crosstalk |
| L+R≥35mW+35mW (300Ω,THD+N<1%,3.3Vrms) | Peak output voltage |
| SNR | ≥ 110dB (A-weighted) |
| THD+N | <0.028%(1kHz/0dB @ 32Ω) |
| Dynamic range | ≥ 94dB (A-weighted) |
| Noise floor | <9.7uV(A weight) |
| Frequency response | 20Hz ~ 20KHz: attenuation <1.5dB |
| THD+N | <0.028%(1kHz/0dB @ 10KΩ) |
| SNR | ≥ 110dB(A-weighted) |
| Crosstalk | ≥ 100dB |
| Noise floor | <9.6uV(A weight) |
| Dynamic range | ≥ 94dB (A-weighted) |
| Line Output Level | 3.3Vrms(1KHz@10kΩ) |
| Frequency response | 20Hz ~ 20KHz: attenuation <1.5dB |
| General Specifications - Performance and parameters of line output (3.5mm output, CD, OS mode) | |
| Output power | L+R≥405mW+405mW (16Ω,THD+N<1%,2.5Vrms) |
| Output impedance | <1Ω |
| L+R≥220mW+220mW (32Ω,THD+N<1%,,2.7Vrms) | Crosstalk |
| L+R≥25mW+25mW (300Ω,THD+N<1%,2.8Vrms) | Peak output voltage |
| SNR | ≥ 109dB (A weight) |
| THD+N | <0.027%(1kHz/0dB @ 32Ω) |
| Dynamic range | ≥ 94dB (A-weighted) |
| Noise floor | <8.5uV(A weight) |
| Frequency response | 20Hz ~ 20KHz: attenuation <1.5dB |
| THD+N | <0.027%(1kHz/0dB @ 10KΩ) |
| SNR | ≥ 110dB(A-weighted) |
| Crosstalk | ≥ 100dB |
| Noise floor | <8.5uV(A weight) |
| Dynamic range | ≥ 94dB (A-weighted) |
| Line Output Level | 2.8Vrms(1KHz@10kΩ) |
| Frequency response | 20Hz ~ 20KHz: attenuation <1.5dB |
| General Specifications - Performance and parameters of balanced headphone output (4.4mm output, CD, OS mode, desktop mode) | |
| Output power | L+R≥480mW+480mW (16Ω,THD+N<1%,2.8Vrms) |
| Output impedance | <1.5Ω |
| L+R≥1150mW+1150mW (32Ω,THD+N<1%,6.1Vrms) | Crosstalk |
| L+R≥145mW+145mW (300Ω,THD+N<1%,6.6Vrms) | Peak output voltage |
| SNR | ≥ 112dB (A-weighted) |
| THD+N | <0.030%(1kHz/0dB @ 32Ω) |
| Dynamic range | ≥ 94dB (A-weighted) |
| Noise floor | <14uV(A-weighted) |
| Frequency response | 20Hz ~ 20KHz: attenuation <1.5dB |
| General Specifications - Performance and parameters of balanced headphone output (4.4mm output, CD, OS mode) | |
| Output power | L+R≥490mW+490mW (16Ω,THD+N<1%,2.8Vrms) |
| Output impedance | <1.5Ω |
| L+R≥810mW+810mW (32Ω,THD+N<1%,5.1Vrms) | Crosstalk |
| L+R≥100mW+100mW (300Ω,THD+N<1%,5.5Vrms) | Peak output voltage |
| SNR | ≥ 110dB (A-weighted) |
| THD+N | <0.029%(1kHz/0dB @ 32Ω) |
| Dynamic range | ≥ 94dB (A-weighted) |
| Noise floor | <13.6uV(A weight) |
| Frequency response | 20Hz ~ 20KHz: attenuation <1.5dB |
| General Specifications - Performance and parameters of balanced line output (4.4mm output, CD, OS mode, desktop mode) | |
| THD+N | <0.029%(1kHz/0dB @ 10KΩ) |
| SNR | ≥ 110dB (A-weighted) |
| Crosstalk | ≥ 104dB |
| Noise floor | <18.4uV(A weight) |
| Dynamic range | ≥ 94dB (A-weighted) |
| Line Output Level | 6.5Vrms(1KHz@10kΩ) |
| Frequency response | 20Hz ~ 20KHz: attenuation <1.5dB |
| General Specifications - Performance and parameters of balanced line output (4.4mm output, CD, OS mode) | |
| THD+N | <0.029%(1kHz/0dB @ 10KΩ) |
| SNR | ≥ 110dB (A-weighted) |
| Crosstalk | ≥ 104dB |
| Noise floor | <15.8uV(A weight) |
| Dynamic range | ≥ 94dB (A-weighted) |
| Line Output Level | 5.4Vrms(1KHz@10kΩ) |
| Frequency response | 20Hz ~ 20KHz: attenuation <1.5dB |

